Marvin French Patio Door Handle Sets - Active White Keyed
Price: $301.15
SKU: MV-21448119
MARVIN FRENCH DOOR HANDLE SETS | Active and Inactive | Wood Outswing French Door, Stationary, Fixed, Swinging, Clad Model, Inswing Doors, Arch Top French Door Models, Replacement Hardware Parts, Panel Replacements, Weather Strip, Aluminum and Wood Parts, and Obsolete Parts.
Need Help? Info@MarvinWindowDoorParts.com
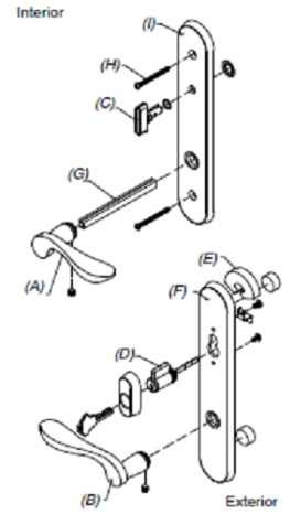
Handle Assembly, Active Panel: Includes Interior lever (A) with spindle, escutcheon plate and hardware, Exterior lever (B) with escutcheon plate, and hardware thumb turn (C) with hardware, Keyed cylinder (D) with housing
and hardware, Exterior escutcheon plate gasket (E), Exterior escutcheon plate (F), Two piece spindle (G), #10−32 x 2 5/8� Phillips oval head machine screws (H), Interior escutcheon plate (I) and the Keys.
COLORS AND FINISHES - TP - 151, AB - 147, SC - 153, WH - 150, ORBZ - 154, ORBZ PVD - 145, BS PVD - 133, SN PVD - 162, DK BZ - 120
$301.15




